While this review only emphasizes the two foremost technological innovations on the K-01XD, with this review, lightning has struck thrice. For the Esoteric, together with the Audio Note UK Fifth Element/Fifth Force DAC and the 47 Laboratory 4741 Izumi CD player, has shown the path to physical disc superiority. These three are the machines that make CD playback eminently rewarding. We can change cables, upgrade amplifiers and get bigger speakers, but the failings of systems is very often exacerbated by the source. With the K-01XD, there is no contest.
Sure, any company worth its salt has digital converters, and there is every reason to believe flagships from a few dozen companies are fierce contenders for the top spot. Personally, I’ve also found the Bricasti Design M21 dual-mono DAC to be singular in its performance. Retrospectively, Esoteric offers no less than ten digital products itself, beginning with the two Grandioso models, the aforementioned $100,000-per-pair Grandioso D1X, a 64 bits monoblock of a digital powerhouse, the complimenting $50,000 Grandioso P1X SACD transport, followed by the K-Series, the $36,000 64-bit Grandioso K1X SACD player, the $14,000 K-03XD 64-bit SACD player, the $8,500 K-05Xs 32-bit SACD player, the $7,500 K-07Xs 32-bit SACD player, the $11,000 N-03T network transport, the $20,000 N-01XD 64-bit network player and its $7,500 N-05 34-bit sibling. Esoteric is armed to the teeth on digital source components.
The K-01XD provides custom settings for DSD and PCM playback separately, namely M1, M2 and M3 in PCM playback, and F1, F2 and F3 in DSD mode. While the owner’s manual gives no detailed description of the characteristics of the settings, according to Keith, “While each setting has its own related filter, frequency setting etc., (in other words there is no placebo effect in play here) the thinking of the factory has always been that they don’t want end users to make a pre-determination of what will sound the best based purely on a number. They want the end user to trust their ears to tell them which positions sounds the best. I can tell you that the units are all sonically tuned with all of these settings effectively turned off.” Be assured that the factory did provide Keith with an outline, which will be described later in the review.
The K-01XD was in a system where the Audio Reference Technology Analyst SE XLR connected it to the control chassis of the Pass Laboratories Xs Preamp system, and a second pair of the same XLR ran between the Xs Preamp and the Pass Labs XA200.8 pure class A solid-state monoblocks. A pair of the Bricasti Design M28 class AB solid-state monoblocks was also alternated for driving the Sound Labs Majestic 645 electrostatic panels. An Aurender N100SC caching music server and streamer with its optional onboard 2TB disc drive sent signals along with Tidal streaming service to the K-01XD via a Harmonix Reimyo by Combak coaxial digital cable. An Aural Symphonics Digital Standard toslink connected the Panasonic Plasma TV to the Esoteric.
Powering the machines were an A.R.T. Evo Analyst power cable for the K-01XD, an A.R.T. Super SE for the Aurender, a third Super SE for the Pass Labs Xs Preamp and additional Analyst power cables for the monoblock amplifiers. Another Super SE powers the PS Audio DirectStream Power Plant 20, which fed the Aurender, Esoteric, Pass Labs Xs Preamp and a few others not in the curfew of this review. The monoblocks were plugged directly into the wall.
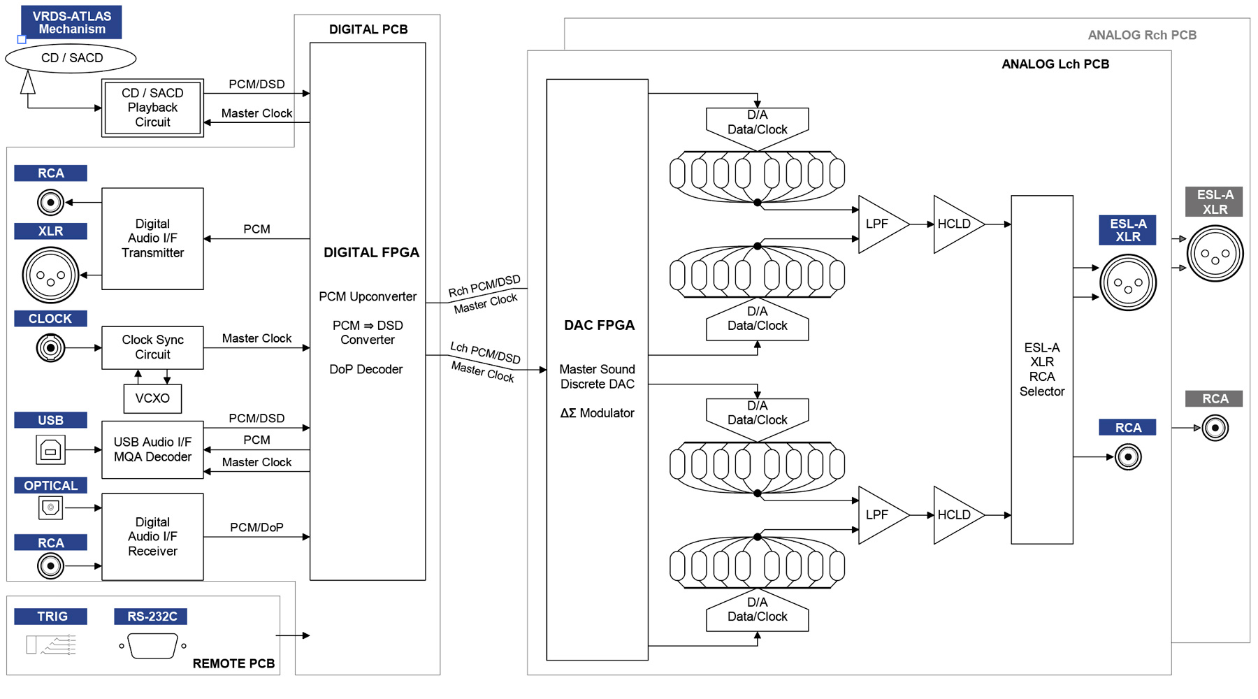
There are quite a few companies in existence continuing to manufacture one-piece SACD player/DAC, but none of them develop their own transport. For it is such an involved endeavor that in addition to it being a wise decision to contain costs by adopting an established product, any attempt to surpass the Teac/Esoteric VRDS mechanism by starting up the R&D and tooling process is simply risking certain bankruptcy. The previous-generation K-03’s VRDS-NEO transport mechanism circa 2003 provided more detail over others in driving other DACs consistently, and it was my reference. It also allowed the option of turning off analog outputs while outputting digital signal only. The same flexibility is endowed upon the K-01XD.
In driving the $19,000 Bricasti Design M21, the K-01XD transport brought out the most elaborate suite of performance yet from it. The LIM K2 HD edition of the Proprius Camino Cantate recording was rendered in the most dynamically contrasted and realistic manner ever by the DAC, yielding spectacular three-dimensionality of the soloists amongst the choir. Depiction of the ambience captured inside the great hall of the Oscar’s Church was meticulous and well-defined. The church organ in the Proprius Cantate Domino SACD has variance in amplitude and tonal verisimilitude never realized until now. I don’t think any Bricasti user except I has experienced it yet.
Perhaps the acid test of a transport is in what it can do for a budget DAC. When driving the $2,749 iFi Pro iDSD DAC, the K-01XD transport induced the miniature DAC to pump out soundscapes and tonalities so vast and pristine that it had not achieved with other transports and hard drives, helping to certify the compact DAC’s ability to rein in a main system.
But the ace of innovation of the K-01XD is its Master Sound Discrete DAC system, and it’s like nothing I’ve seen before.
Deeper, richer tones, stunning extreme left and extreme right channel details and imaging
Playing the JVC 1989 audiophile grade CD Face to Face by trumpeter Tiger Okoshi, a predecessor of the XRCD format yet to emerge, revealed my preference of the K-01XD’s PCM playback setting of M2 as opposed to M1 or M3, rendering a higher transparency of tone but with softer edges. At this setting, I pushed the volume even higher and basked in the sonic splendor from the Sound Lab electrostatic panels. Instruments separation was phenomenal, I reckon I was hearing the music in its most faithful rendition with the highest jam factor ever. The point is, whereas the better DACs that I auditioned would try to recreate a three-dimensional space between the speakers, the K-01XD projected every cubic inch of the soundstage up to the very edge of the electrostatic panels and outward into the room. Liner notes described the music as recorded on a Sony PCM-3348 digital multi-track recorder and mixed on a JVC DAS-900 Audio Mastering System. The Esoteric K-01XD perfected the job thirty-one years after.
The K-01XD challenged my hearing at times, such as during the playback of the organs in track 1 “Ryu” in The Film Music of Toru Takemitsu CD, producing sostenutos replete with contrasting tones at levels of vibrancy fantastical and unreal, defying senses of reality. The newly dug up dynamics and tonal definition of the organs by the Esoteric were stuff for savoring, and the sound of the instruments, even during softer moments, filled the electrostatic panels to the brims.
Playing the Esper Edition of the Vangelis soundtrack to the 1982 Ridley Scott cult classic Blade Runner, the K-01XD surpassed all my previous experience in its enormous scale and in dynamic contrasting. Its contrasting ability was epical. One moment a very subtle rendition of the quieter notes in the hands of Vangelis would linger on ad infinitum with waves of sweeping melodies behind it, while he would bring a solitary, lamenting note to the fore amidst a canvas of background instrumentation. All this while evocating some of the most distinct and well-formed tones of a synthesizer ever. Kudos to Esper Production for this remastering.
The Heifetz SACD of Beethoven and Mendelssohn Violin Concertos on the K-01XD sounded softer and more delicate than the K-03, bringing out a never before-heard vaster and more spacious soundstage. The electrostatic panels were loving the K-01XD. The SACD contained such power as rendered by the player as if it could overpower the panels themselves.
No Esoteric SACD player review would be complete without using Esoteric remastered SACDs. First up was the Sir Colin Davis reading of Beethoven Overtures, a recording originally made in 1985, sent to me in 2007 in celebration of Esoteric’s 20th Anniversary then, was a celebrated recording in its time for its exceptional sound quality, in addition to being the only viable, fresh-sounding alternative for many listeners to the Karajan disk of the sixties. The SACD is not overwhelming in terms of sound but sounded exactly like how I remember it. Listening to it on anything else diminished the experience. This reissue is a curious exercise from Esoteric without the expected diligence in remastering. Only for those seeking a genuine reenactment of the original LP experience.
The company’s SACD reissuance of a remastered, 1983 Philips recording of the Peer Gynt excerpts is one of the hottest projects the company has undertaken lately. The SACD stands neck to neck with the original vinyl in timbral warmth and width of stage, and the K-01XD imparted the music with newfound dynamics and scale. This disc is now rendered demonstration class by the K-01XD. Unlike the vinyl, I can play this over and over again and not having to worry about acquiring a second vinyl copy.
The player’s three DSD filter settings all sounded extraordinary and identical to me, but I stayed on the OFF mode. Several months into the auditioning, a response from Japan finally came in regards to the PCM and DSD settings:
“The D/A converter operation mode used during PCM playback can be set to three types, M1, M2 or M3. This changes the Δ [Delta] Σ [Sigma] modulator operation frequency and randomization algorithm used to absorb hardware error. M1 is the Esoteric reference mode. The operation frequency of the Δ Σ modulator becomes progressively lower in order from M1 to M2 to M3. The replacement amount of the randomization algorithm increases progressively in order from M1 to M2 to M3. By default, the setting is M1.”
On the DSD settings, “A digital filter is used. F1, F2 and F3 are digital filters with different frequency responses. The cutoff frequency becomes progressively lower from F1 to F2 to F3.”
Herein lies the singular merit of the K-01XD. It didn’t have tubes for the softening and beautification of tones, but it achieves it nonetheless and in a single, decisive stroke it did more than just making digital music worthy of analogphile ears. By the prowess of the massive DAC construct, the K-01XD pushed the performance envelope over the edge in a grand manner that only Esoteric with its cadet of engineers could muster, and then developed a DAC that sounded smooth yet intricate, dynamic yet sensitive and above all, spacious and three-dimensional.
Esoteric’s N-01XD network player was a compelling alternative to the K-01XD, but I needed a standalone streamer if I were to review other DACs, so the decision was not difficult though the temptation remained. Besides, the sign of the times indicate mass abandonment of the physical transport, so I could see the K-01XD becoming Esoteric’s final excursion on a top SACD player.
Common opinion these days has it that the cloud is all we need for the purpose of music appreciation. I believe we as intelligent beings need variety in mediums and I thrive on playing my LPs, CDs, SACDs and Tidal streaming. This period is a crucial junction at which we may be witnessing the last breed of superior disc transports being developed. For the first time in the industry that I know of, the digital promise is unswervingly fulfilled at the highest level in the form of the Esoteric VRDS ATLAS disc transport and Master Sound Discrete DAC, embodied in players such as the K-01XD.
And there’s no better transport than ones from Esoteric Teac, a fact to which I attest from my usage of the Esoteric K-03 since 2013. Whereas it may be true for any SACD player to be considered a compromise for having a DAC thrown together with a noisy transport, in the case of Esoteric it becomes a strength. Sophisticated and ultra high-performance, the Esoteric K-01XD represents the very height of industrial achievement in our time. It is a collector’s item and a legend in the making. On any given day, I wouldn’t miss the opportunity to listen to my favorite music via the Esoteric VRDS transport, and the occasion is all the more exciting when it is the ATLAS.
The K-01XD attained a tone previously resided in the realm of cables and power conditioner upgrades. Now the level of finesse in digital playback as presented by the Esoteric K-01XD and its completely in-house technologies is at such level it cannot be overtaken.
It is an industry-wide show of force for Esoteric to develop its own reference D/A conversion scheme, one that in my opinion surpassed the company’s own previous adoption of widely available industry standard chipsets. The company is now leaving the rest of the industry in dust. I foresee Esoteric further compacting the components of the Master Sound Discrete DAC into lower cost variants for wider commercial release within five years, having gone through the most difficult stage of creating it and then mastering the design and manufacturing process in-house.
The K-01XD plays at the top of its game in absolute terms, conceding most certainly to its more upscaled siblings. The $153,000 Audio Note UK Fifth Element/Fifth Force DAC is the only DAC I know of with a tonality suite surpassing that of the Esoteric significantly. The audiophile that buys the Audio Note will certainly won’t even blink to get the Esoteric for good measure.
The Aurender N100SC is serving as a most meticulous hard disk and Tidal streaming transport for the Esoteric. Having the K-01XD with its VRDS-ATLAS transport is just one more insurance policy for uninterrupted reviewing schedule, albeit an ironclad one.
The K-03 of 2013 was equipped with four AKM 32-bit chips per channel and the VRDS-NEO SACD disc reading mechanism, producing a sonic canvas impossible to replicate outside the company’s upper models. The K-01XD outclasses it by 10% per my conservative estimate. Quoting a higher superiority percentage will distress many, and hearing is believing. With the Sound Lab speakers, even the discontinued K-03 needed no excuse and was producing music of the highest tonal resplendency and I had been content; the K-01XD is simply far superior and I can’t go back.
Copy editor: Dan Rubin
Review system:
PS Audio DirectStream Power Plant 20 AC regenerator
Acoustic Sciences Corporation TubeTraps
Audio Reference Technology Analysts EVO interconnects, power cable
Audio Reference Technology Analysts SE interconnects, power cables
Audio Reference Technology Super SE interconnects, power cables
Pass Laboratories Xs Preamp
Pass Laboratories XA200.8 pure class A monoblocks
Bricasti Design M28 class AB monoblocks
Margules Audio u-280SC Black ultralinear tube monoblocks
Sound Lab Majestic 645 electrostatic panels
- ← Previous page
- (Page 2 of 2)





Totally down with vinyl and although no microphone I do have two turntables.
Esoteric are killer good spinners. Read the reviews and figured a lot of hyperbole and for the price they should be good. After buying one primarily for reliability and as a backup to vinyl I have to say that the reviews were forthright and I ended up scoring a used K01. LOVE IT.
I’m done but congratulations on anyone buying one of these fantastic spinners.
Can we get real here! How many audiophiles out there are going to spend this kind of money on a CD player. Can we discuss real world equipment for the majority of audiophiles in this country.
I agree it is a ridiculous amount of money. I owned the k-03xs and I bought it at the time when 2 weeks later they released the k-03xd. How about for that money, they allow ur unit to be upgraded instead of making it obsolete. Esoteric are u listening!!!!!
Great review
Great review and by far the greatest spinner I have ever owned, including the most expensive products from both the RSR ladder DAC-transport systems costing $60-85K and the even more expensive SACD/CD/DAC/digital front end. This is only my opinion, but I have owned or do own them all.
I have owed the K01-XD for less then 5 months and already having issues. A cd that was in perfect condition got stuck in the cd drive. I had a technician take the cover off and remove the cd, at the same time the cd was inspected for deficiencies. None were found. When i told the dealer what was happening they did nothing also the N/A Sales Rep need nothing, said to send it to an authorized esoteric repair service for checking and repair. the dealer then told me to leave the top loose so that i can remove the cd myself and make sure you turn the power off when not in use also remove the cd after you play it, that is the dealer told me to solve the problem. The sales rep told me to try and stick my small finger in the tray and remove the cd. I just want the unit replaced or a refund.
Greg,
Thank you for your readership and comment. Sorry to hear about your issue with the K-01XD. While I’m sure the issue with this unit is an isolated incident, parties involved ought to step up with the customer service and take care of customers, or expect repercussions from online commentaries.